


V kocke ABCDEFGH označme stredy strán K, L. S priamkou KL je rôznobežná priamka:

Je daný pravidelný štvorboký hranol ABCDEFGH, v ktorom je |AB| = 1 dm , |AE| = 2 dm . Najkratšia cesta z bodu A do bodu G po povrchu telesa má dĺžku:

Daná je kocka ABCDEFGH, ktorej hrana má dĺžku 2. Bod M je stredom hrany GH. Aký obvod má útvar, ktorý je rezom kocky rovinou ACM?

Na obrázku je pravidelný kolmý šesťboký hranol. Koľko priamok prechádzajúcich vrcholmi tohto hranola je rovnobežných s priamkou C₁D₁?

Daná je kocka ABCDEFGH. Ktorý z nasledujúcich výrokov je nepravdivý?
Veľkosť uhla úsečky AH a úsečky HC je 60°.
Úsečky BC a HC sú navzájom kolmé.
Priamky AE a CG sú navzájom rovnobežné.
Priamky EF a DH sú navzájom rôznobežné.
Veľkosť uhla roviny HAB a roviny ABC je 45°.

Kocka ABCDEFGH má hranu dlhú 4 cm. Bod M je stred hrany EH. Vypočítajte v centimetroch obvod rezu kocky ABCDEFGH rovinou ACM.

Daný je kváder ABCDEFGH, v ktorom AB = 12 cm, AD = 3 cm, AE = 5 cm. Vypočítajte (v cm²) obsah rezu tohto kvádra rovinou AFG.

Kocka ABCDEFGH má hranu dĺžky 4 cm. Označme S stred hrany AE. Vypočítajte v štvorcových centimetroch obsah rezu tejto kocky rovinou BCS. Výsledok uveďte zaokrúhlený na jedno desatinné miesto.

Daná je kocka ABCDEFGH. Trojuholník ACE má obsah \(50\sqrt{2}\) cm². Aký objem má kocka?

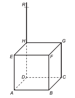
Je daná kocka ABCDEFGH s dĺžkou hrany \(|AB| = 4\) cm. Bod H je v strede úsečky DR. Rez kocky rovinou ACR je lichobežník. Vypočítajte v centimetroch obvod tohto lichobežníka.

Daná je kocka s dĺžkou hrany 6 cm. Body K, L sú vrcholy kocky a bod M leží v strede hrany kocky tak, ako vidíte na obrázku. Rez kocky rovinou KLM je štvoruholník. Vypočítajte v centimetroch obvod tohto štvoruholníka.

| # | Zdroj | Téma | Kategória |
|---|---|---|---|
| Úloha 1 | fri 2012/14 | Rôznobežná priamka s AK v kocke | vzájomná poloha útvarov |
| Úloha 2 | fri 2012/15 | Najkratšia cesta z A do G po povrchu hranola | netypický príklad |
| Úloha 3 | fri 2016/44 | Obvod rezu kocky rovinou ACM | rezy telies |
| Úloha 4 | fri 2016/45 | Počet priamok rovnobežných s C₁D₁ v hranole | rovnobežnosť priamok |
| Úloha 5 | - | Nepravdivý výrok o kocke (uhly, kolmosť, rovnobežnosť) | vzájomná poloha útvarov |
| Úloha 6 | 2015/11 | Obvod rezu kocky rovinou ACM | rezy telies |
| Úloha 7 | 2004A/22 | Obsah rezu kvádra rovinou AFG | rezy telies |
| Úloha 8 | 2005A/17 | Obsah rezu kocky rovinou BCS | rezy telies |
| Úloha 9 | fri 2014/45 | Objem kocky z obsahu trojuholníka ACE | rezy telies |
| Úloha 10 | 2018/13 | Obvod rezu kocky rovinou ACR (lichobežník) | rezy telies |
| Úloha 11 | 2022/8 | Obvod rezu kocky rovinou KLM (štvoruholník) | rezy telies |
Príklady - príprava na maturitu
Riešenie úloh | Riešenie úloh pre mojich študentov - FREE
Pripravila: Mgr. Dana Kozáková - hodinová učiteľka